Đồ án tốt nghiệp - Đánh giá hiệu quả môi trường và kinh tế trong cân bằng Nitơ của HTNTSTCQMN ở TBT
Tên môn học: Khóa luận tốt nghiệp
Giá: 94.000đ
94.000đ
Chi tiết
tài liệu :
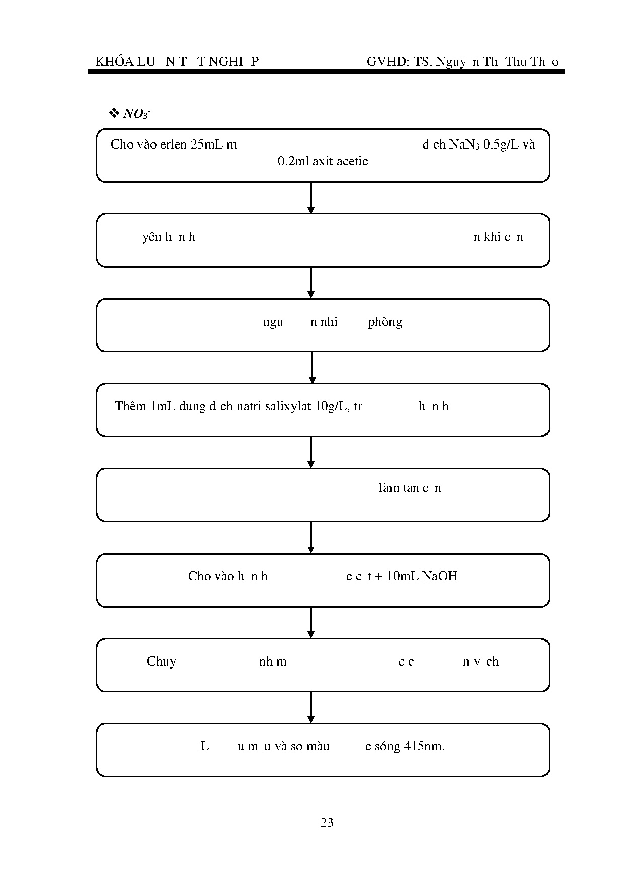
Đồ án tốt nghiệp ngành Quản lý tài nguyên & môi trường - Đánh giá hiệu quả môi trường và kinh tế trong cân bằng Nitơ của hệ thống nuôi tôm siêu thâm canh quy mô nhỏ ở tỉnh Bến Tre - Trường Đại học Sư phạm Kỹ thuật Thành phố Hồ Chí Minh (HCMUTE)
| Định dạng | |
| Dung lượng | 3.17 MB |
| Số trang | 87 |
| Ngành Ngành học chỉ mang tính chất tham khảo | Quản lý TN & MT (2025) |
| Lượt xem | 319 |
| Ngày đăng | 31/12/2025 |
BỘ GIÁO DỤC VÀ ĐÀO TẠO
TRƯỜNG ĐẠI HỌC SƯ PHẠM KỸ THUẬT TP. HỒ CHÍ MINH
KHÓA LUẬN TỐT NGHIỆP
ĐÁNH GIÁ HIỆU QUẢ MÔI TRƯỜNG VÀ
KINH TẾ TRONG CÂN BẰNG NITƠ CỦA
HỆ THỐNG NUÔI TÔM SIÊU THÂM CANH
QUY MÔ NHỎ Ở TỈNH BẾN...
TRƯỜNG ĐẠI HỌC SƯ PHẠM KỸ THUẬT TP. HỒ CHÍ MINH
KHÓA LUẬN TỐT NGHIỆP
ĐÁNH GIÁ HIỆU QUẢ MÔI TRƯỜNG VÀ
KINH TẾ TRONG CÂN BẰNG NITƠ CỦA
HỆ THỐNG NUÔI TÔM SIÊU THÂM CANH
QUY MÔ NHỎ Ở TỈNH BẾN...
Một số trang tài liệu:
Trang 1
Trang 21
Trang 43
Trang 65
Trang 87